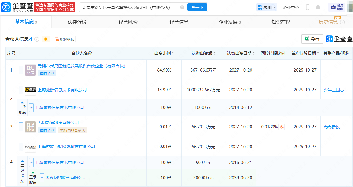
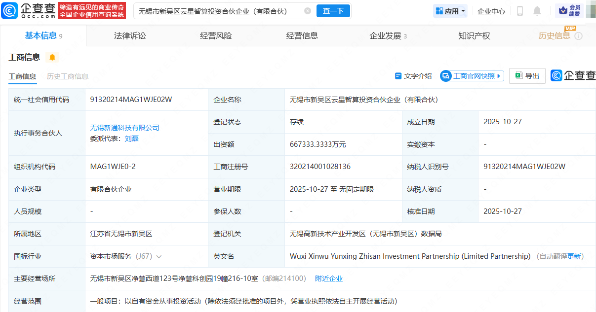
近日安徽股票配资,无锡市新吴区云星智算投资合伙企业(有限合伙)成立,出资额约66.7亿人民币,经营范围为以自有资金从事投资活动。企查查股权穿透显示,该合伙企业由无锡新通科技有限公司、游族网络(002174)旗下上海游族互娱网络科技有限公司、上海驰游信息技术有限公司等共同出资。
安徽股票配资
思考资本配资提示:文章来自网络,不代表本站观点。
本文评分*
评论内容*
你的昵称*
你的邮箱*
股票正规配资 小米回应两起汽车着火事故
期货配资开户论坛 天力锂能子公司将停产检修,预计减少磷酸铁锂产量1500至2000吨
安徽股票配资 宇宙闪烁请注意:于洋被黄子韬无视,气得说自己是徐艺洋
安徽股票配资 中小银行存款利率调整现分化
安徽股票配资 这一场文学跨年,作家带大家一起重温文学故乡,述说文学跋涉